Ольга Шумахер - Дизайн участка

Тут можно читать онлайн Ольга Шумахер - Дизайн участка - бесплатно ознакомительный отрывок. Жанр: Хобби и ремесла. Здесь Вы можете читать ознакомительный отрывок из книги онлайн без регистрации и SMS на сайте лучшей интернет библиотеки ЛибКинг или прочесть краткое содержание (суть), предисловие и аннотацию. Так же сможете купить и скачать торрент в электронном формате fb2, найти и слушать аудиокнигу на русском языке или узнать сколько частей в серии и всего страниц в публикации. Читателям доступно смотреть обложку, картинки, описание и отзывы (комментарии) о произведении.

Ольга Шумахер - Дизайн участка краткое содержание

Дизайн участка - описание и краткое содержание, автор Ольга Шумахер, читайте бесплатно онлайн на сайте электронной библиотеки LibKing.Ru

Древний человек, желая познать новое, отдалился от природы и с тех пор на протяжении многих веков стремится вернуться к ней. Искусство ландшафтного дизайна способно помочь человеку реализовать эту на первый взгляд непростую задачу.

Книга «Дизайн участка» поможет вам превратить свое жилище в прекрасный уголок живой природы, радующий глаз гармонично построенными композициями, где можно отдохнуть от городского шума и суеты.

Дизайн участка - читать онлайн бесплатно ознакомительный отрывок

Дизайн участка - читать книгу онлайн бесплатно (ознакомительный отрывок), автор Ольга Шумахер
Тёмная тема
Сбросить

Интервал:

Закладка:

Сделать

2 – профиль дорожки с расшивкой швов раствором: а – пастелистый камень; б – песок; в – расшивка раствором заподлицо

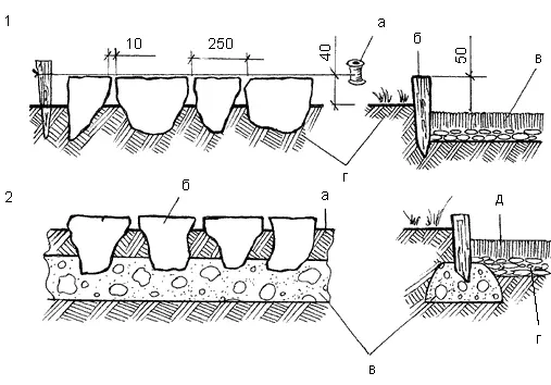
Дорожки можно изготовить из крупного колотого булыжника. Основание для такой дорожки готовится слоем 10–15 см. Булыжники укладываются с промежутками 4–5 см. Швы заливаются раствором до уровня верхушек камней или чуть выше ( рис. 40 ). По краям такие дорожки обрамляются бордюром из плоского тесаного камня, закрепленного раствором. При строительстве дорожек из плоского камня, предназначенных для передвижения автомобилей, бетонное основание изготавливают с расшивкой швов раствором. Предварительно делают разметку, выкапывают канаву глубиной 20–30 см, тщательно утрамбовывают ее дно. Затем в канаву засыпают бутовый камень (доломит, щебень, гальку), обильно поливают водой и еще раз утрамбовывают. Вместо бетона для основания дорожки можно использовать мелкий бутовый камень, распределенный по канавке слоем 15–20 см ( рис. 41 ). После этого производят расшивку швов.

Рис 40 Профиль дорожки из колотого булыжника с расшивкой раствором а - фото 42

Рис. 40. Профиль дорожки из колотого булыжника с расшивкой раствором: а – колотый булыжник; б – песок; в – бордюр из плоского тесаного камня; г – расшивка раствором

Рис 41 Профиль дорожки из плоского камня а бетон б основание бут в - фото 43

Рис. 41. Профиль дорожки из плоского камня: а – бетон; б – основание (бут); в —раствор; г – расшивка раствором; д – пастелистые каменные плиты

Бордюры

Для обрамления дорожек используются невысокие ограждения – бордюры. Для их изготовления применяют различный материал: кирпич, бетон, природный камень, дерево, бетонные бордюрные блоки и др.

Бордюры из красного кирпича легки в изготовлении и экономичны. Для них выбирают кирпич хорошего качества и располагают его торцом вверх. При извилистости дорожки швы между кирпичами заполняют раствором ( рис. 42 ).

Рис 42 1 бордюр из красного кирпича на уголок 2 бордюр из красного - фото 44

Рис. 42. 1 – бордюр из красного кирпича «на уголок»; 2 – бордюр из красного кирпича «на торец»: а – общий вид; б – способ укладки

Оригинально смотрится бордюр из подтоварника. Подтоварником называют бревна диаметром 8–11 см, распиленные на чурки длиной 40–50 см с косым срезом, который улучшает водосток и придает бордюру декоративный вид. Элементам бордюра можно придать различную форму, чурки могут быть оформлены в виде фигурок или украшены резьбой. Все зависит от вашего вкуса и желания. Верх бордюра необязательно должен быть косым, он может быть выполнен из гладких овальных бревен.

Бордюры из подтоварника хорошо использовать для цветников и клумб, а также как обрамление вокруг деревьев. Они будут хорошо удерживать влагу, необходимую для растений ( рис. 43 ). Для того чтобы такой бордюр был более долговечным, чурки обрабатывают антисептиком, который предохраняет древесину от гниения и насекомых. Водорастворимыми антисептиками являются купорос, цинк, фтористый натрий, магний и пр. Антисептик наносят на древесину при помощи кисточки или садового распрыскивателя. На 1 м 2, как правило, требуется 1 л антисептика.

Рис 43 Бордюр из подтоварника а общий вид б способ укладки Если - фото 45

Рис. 43. Бордюр из подтоварника: а – общий вид; б – способ укладки

Если деревянный бордюр устанавливают вокруг клумб или цветника, требующих регулярного полива, то обрабатывать его лучше маслянистыми антисептиками, которыми являются каменноугольное креозотовое масло, каменноугольная смола, торфяной креозот, сланцевое масло, древесный креозот. Деревянные элементы бордюра помещают в специальную ванну с антисептиком, температура которого составляет 70–80° С, и держат 15–30 минут. Затем их дополнительно обрабатывают обжигом на слабом огне и покрывают смолой или другим антисептиком. Обжигают лишь ту часть чурки, которая будет находиться в земле.

После обработки антисептиком чурки рекомендуется обернуть несколькими слоями изоляционного материала (толь, полиэтиленовая пленка, рубероид и др.).

С целью защиты бордюра от насекомых его поверхность покрывают химическим препаратом. В качестве такового можно использовать смесь из скипидара, нафталина и керосина.

Бордюры из плоского природного камня отличаются экономичностью и легкостью устройства. Большие по размеру камни вкапывают на нужную глубину в песчаный грунт. Небольшие камни укладываются на бетонное основание или раствор ( рис. 44 ). Размер камней, их форму вы можете выбирать по своему усмотрению. Можно использовать камни, размеры которых неодинаковы. В этом случае высота бордюра будет изменяться. Для того чтобы такая конструкция была более прочной, лучше закреплять камни на бетонном основании, при этом под меньшие по размеру камни используется большее количество бетона.

Рис 44 1 бордюр из плоского природного камня установленного по шнуру а - фото 46

Рис. 44. 1 – бордюр из плоского природного камня, установленного по шнуру: а – шнур; б – камень; в – площадка; г – грунт; 2 – бордюр из плоского природного камня на бетонном основании: а – грунт; б – камень; г —насыпной грунт; д – площадка

Бордюры из монолитного бетона сложной криволинейной формы. Для изготовления этих бордюров используют монолитный бетон в опалубке. Для большей прочности и продления срока эксплуатации рекомендуется применять арматуру.

Опалубку укрепляют при помощи колышков. Ее можно обшить оргалитом, фанерой или толстым листовым железом ( рис. 45 ). Половину высоты бордюра заделывают в землю. Арматура, расположенная внутри конструкции, не должна соприкасаться с лицевой стороной, иначе на поверхности появятся ржавые подтеки и пятна. После того как бетон уложен, его выдерживают во влажном режиме 7–10 дней.

Рис 45 Устройство опалубки для бордюра из монолитного бетона а арматура б - фото 47

Рис. 45. Устройство опалубки для бордюра из монолитного бетона: а – арматура; б – обшивка из фанеры, толстого листового железа или оргалита; в – колышки

Для изготовления монолитного бордюра можно также использовать готовые бетонные блоки, но они достаточно громоздки и подходят только для больших участков с широкими дорожками.

Зеленые бордюры

Бордюры изготавливаются по краям дорожек для придания им более декоративного и законченного вида, а также с целью ограждения одной зоны, например детской площадки, от остального участка.

Читать дальше
Тёмная тема
Сбросить

Интервал:

Закладка:

Сделать


Ольга Шумахер читать все книги автора по порядку

Ольга Шумахер - все книги автора в одном месте читать по порядку полные версии на сайте онлайн библиотеки LibKing.




Дизайн участка отзывы


Отзывы читателей о книге Дизайн участка, автор: Ольга Шумахер. Читайте комментарии и мнения людей о произведении.


Понравилась книга? Поделитесь впечатлениями - оставьте Ваш отзыв или расскажите друзьям

Напишите свой комментарий
x