Людмила Смирнова - Отопление и водоснабжение загородного дома
- Название:Отопление и водоснабжение загородного дома
- Автор:
- Жанр:
- Издательство:неизвестно
- Год:неизвестен
- ISBN:нет данных
- Рейтинг:
- Избранное:Добавить в избранное
-
Отзывы:
-
Ваша оценка:
Людмила Смирнова - Отопление и водоснабжение загородного дома краткое содержание
Если вы хотите установить в вашем загородном доме надежное, качественное, высокоэффективное отопительное и водопроводное оборудование, тогда вам просто не обойтись без этой книги. Наше практическое руководство поможет вам избежать лишних затрат времени и денежных средств при выборе видов отопления и водоснабжения, количество которых на современном строительном рынке без преувеличения огромно. Вы узнаете о преимуществах водяного, электрического, печного отопления, о секретах установки отопительных котлов, бытовых печей и каминов. Книга также расскажет о системах холодного и горячего водоснабжения, об улучшении качества питьевой воды, о методах установки газовых водогрейных колонок и многом-многом другом.
Прибегнув к этим рекомендациям, вы сможете сделать отопление и водоснабжение вашего дома удобным, экономичным и практически безотказным.
Отопление и водоснабжение загородного дома - читать онлайн бесплатно ознакомительный отрывок
Интервал:
Закладка:
Положительные и отрицательные стороны импортных котлов
В настоящее время на российском рынке отопительного оборудования имеется огромное количество водогрейных котлов зарубежного производства. Многие наши соотечественники отдают им предпочтение, считая импортное оборудование надежнее, красивее и лучше отечественного. Но так ли это на самом деле? Попробуем разобраться в этом вопросе.
Конечно, импортные водогрейные котлы обладают рядом преимуществ, среди которых можно назвать следующие:
• современный дизайн;
• удобные габариты;
• простота эксплуатации и обслуживания, которая достигается за счет встроенной в аппарат автоматики. Но это преимущество, в свою очередь, является и минусом, потому что вышедшую из строя автоматику очень сложно отремонтировать и настроить;
• только что приобретенный котел можно сразу монтировать по месту эксплуатации;
• довольно высокий КПД;
• хороший уровень безопасности оборудования, оснащенного несколькими степенями защиты.
К недостаткам агрегатов зарубежного производства относится в первую очередь высокая цена оборудования и монтажа, возникающая из-за того, что все комплектующие должны точно соответствовать качеству самого котла. Применение при установке дешевого оборудования значительно сокращает срок службы всей отопительной системы в доме. Но, как известно, если в момент покупки котел стоит очень дорого, то в процессе эксплуатации он сэкономит вам средства.
Водогрейные котлы, изготовленные в бывших соцстранах, несколько дешевле своих западных аналогов, хотя по качеству нисколько им не уступают.
Еще одним недостатком импортных аппаратов является то, что они не могут эффективно работать в условиях нестабильной подачи газа или электроэнергии. Но западные производители стали приспосабливать свое оборудование к российским условиям работы. Так, японская фирма «Rinnai» и немецкая «Viessmann» выпускают водогрейные котлы, которые могут работать при нестабильной подаче топлива.
Ниже расскажем о некоторых производителях импортного оборудования для отопления.
Фирма «Buderis» специализируется на производстве отопительного оборудования, являясь лидером по изготовлению чугунных водогрейных котлов со встроенными атмосферными и дутьевыми горелками.
Вышеназванная компания выпускает газовые котлы «Logano GE—315», «Logano GE—515» (рис. 23), «Logano GE—615». Их топочная камера изготовлена из специального антикоррозийного серого чугуна G 180 М, разработанного этой фирмой. Помимо этого, в котлах данного типа применена новая технология «Thermo-stream», поддерживающая температуру внутри котла на стабильном уровне, что, в свою очередь, не дает конденсату осаживаться на стенках теплообменника.

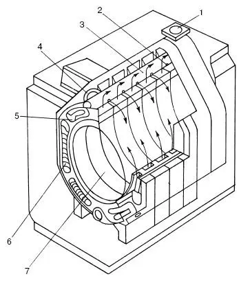
Рис. 23. Газовый котел «Logano GE-515»: 1 – подающая линия котла; 2 – отверстия выхода воды; 3 – обратная линия котла; 4 – верхняя обечайка; 5 – второй ход продуктов сгорания; 6 – третий ход продуктов сгорания; 7 – топка (первый ход продуктов сгорания)
Остывшая вода из обратного трубопровода постоянно перемешивается с нагретой водой, что поднимает температуру поверхности, контактирующей с отопительными газами. Благодаря применению данной технологии КПД котла увеличивается до 95%. Используемый экономичный низкотемпературный режим отопления почти не дает потерь тепла, снижая расход электроэнергии. Движение дымовых газов идет по трехходовому принципу, значительно уменьшая вредные выбросы в атмосферу.

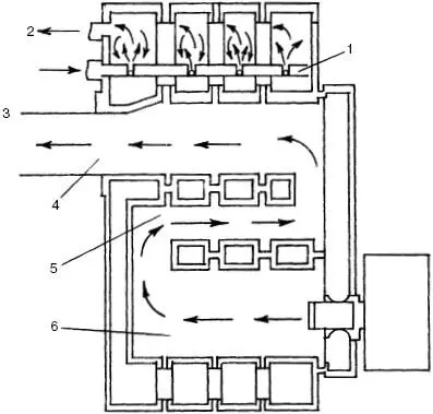
Рис. 24. Водяной контур чугунной секции котла «Logano GE-434»: 1 – трубки подачи холодной воды; 2 – потоки теплой воды
Также эта фирма выпускает чугунный котел «Logano GE—434» (рис. 24), который представляет собой двухблочный агрегат с двумя независимыми атмосферными горелками.

Рис. 25. Котел «Logano GE-215»: 1 – поступление холодной воды из обратной линии; 2 – подающая линия; 3 – обратная линия; 4 – третий ход продуктов сгорания; 5 – второй ход продуктов сгорания; 6 – топка: первый ход продуктов сгорания
Блоки смонтированы в общем корпусе, поэтому одновременная их работа соответствует работе двух отопительных котлов. Данные блоки контактируют друг с другом задними стенками, а между собой соединены трубами, на которых имеется по два кольцевых дроссельных клапана. Каждый блок оснащен одной газовой горелкой со своей аппаратурой. Из-за применения вышеназванной технологии «Thermostream» отпадает необходимость поддерживать постоянное значение температуры обратной воды.

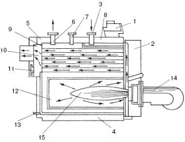
Рис. 26. Котел «Logano SE»: 1 – пульт управления; 2 – дверь котла; 3 – направляющий элемент водяного контура; 4 – рама котла; 5 – теплоизоляция; 6 – подающая линия котла; 7 – штуцер предохранительного клапана; 8 – обратная линия котла; 9 – композитные отопительные поверхности; 10 – сборник дымовых газов; 11 – ревизионное отверстие; 12 – камера сгорания; 13 – спуск воды из котла; 14 – горелка; 15 – пламя горелки
Котлы «Logano G—115» и «Logano G—215» (рис. 25) представляют собой низкотемпературные агрегаты, работающие на жидком топливе (дизтопливо). Их котельный блок изготовлен из антикоррозийного серого чугуна G 180 М. Камера сгорания топлива приспособлена под конфигурацию пламени. Применение принципа трехходового движения продуктов сгорания дает возможность топливу сгорать полностью, а вредные выбросы в атмосферу значительно снижаются.
Данный аппарат оснащен адаптивной автоматической системой управления, полностью отключающей котел, когда нет необходимости подогревать воздух в помещениях и отсутствует потребность в горячей воде. КПД такого рода котлов составляет 96%.
На рис. 26 показан стальной котел «Logano SE» с дутьевой горелкой, работающий на газе или дизтопливе. Он имеет специальную поворотную камеру сгорания. Стальные котлы фирмы «Buderis» имеют низкие рабочие температуры, оптимальный процесс сгорания топлива, возможность полного отключения оборудования. Все эти преимущества делают их долговечными, экономичными и надежными. Такие котлы бывают мощностью 71—1600 кВт.
Одним из лидеров в Европе по производству водогрейных котлов является немецкая компания «Vaillant». Фирма изготавливает газовые котлы VC, VU, VU/1. В настоящее время на рынке отопительного оборудования можно встретить и новейшие серии котлов этой фирмы: «Euro Pro» и «Euro Plus», в которых довольно много электронной начинки.
Читать дальшеИнтервал:
Закладка: