Михаил Шателен - Русские электротехники
- Название:Русские электротехники
- Автор:
- Жанр:
- Издательство:Л.-М.: Госэнергоиздат
- Год:1949
- Город:Ленинград, Москва
- ISBN:нет данных
- Рейтинг:
- Избранное:Добавить в избранное
-
Отзывы:
-
Ваша оценка:
Михаил Шателен - Русские электротехники краткое содержание
В книге освещается выдающаяся роль крупнейших русских электротехников XIX века в развитии мировой электротехнической мысли. Особенную ценность представляет то, что автор был непосредственным свидетелем многих приводимых им фактов, изобретений и открытий. Книга предназначена для широкого круга читателей, интересующихся историей науки и техники и может быть использована как учебное пособие.
Русские электротехники - читать онлайн бесплатно полную версию (весь текст целиком)
Интервал:
Закладка:
Однако, всему этому развитию электрического освещения положила начало «свеча Яблочкова». Чтобы составить себе представление об ее распространении, достаточно сказать, что по свидетельству Яблочкова одно его Французское общество выручило за них к началу 90-х годов более 5 миллионов франков.
Нельзя не отметить, что изобретение лампы накаливания с вольфрамовой нитью, создавшее эпоху в истории освещения лампами накаливания, было сделано также русским пионером-электриком, тоже современником Яблочкова, Александром Николаевичем Лодыгиным, первым предложившим применить в качестве калильного тела разные металлы, в том числе и вольфрам.
В процессе улучшения дуговых ламп, которому Яблочков сам положил начало, он уже не принимал почти никакого участия. Он весь отдался изобретательству уже в других областях электротехники, в частности, в области электрических машин и гальванических элементов.
Известно, что еще раньше, чем заняться свечой, Яблочков изобрел электромагнит особой конструкции. Затем он принимал участие в разработке конструкции альтернатора Грамма. Занимался также конструкцией своих трансформаторов (индукционных катушек) и конденсаторов для своей системы «дробления света».
Теперь он вновь вернулся к построению электрических машин. В Петербурге на своем заводе он разработал новый тип динамомашины, которую продал впоследствии Французскому обществу. После возвращения в Париж он изобрел машину, проданную им в Англию. Полученные средства позволили Яблочкову покинуть службу во Французском обществе и целиком отдаться изобретательству. Из изобретенных им машин ни одна не получила распространения, хотя все они отличались оригинальностью и вообще были новы по идее. Основной причиной такого неуспеха было то, что Яблочков не имел в своем распоряжении ни завода, ни даже мастерских для постройки своих машин. Между тем теоретических сведений, которые могли бы послужить для расчета машин, тогда еще не было, и совершенствовать машину можно было только путем экспериментального исследования уже построенной машины. Итти по этому пути у Яблочкова не было возможности.
Машина, на которую Яблочков взял французскую привилегию в 1877 г., была машина переменного тока, которую он назвал «магнито-динамо-электрической». В этой машине он применил принцип, который впоследствии осуществлялся несколькими конструкторами (Клименко, Кингдон, Томпсон и др.). В машине не было подвижных обмоток: и намагничивающая обмотка и обмотка, в которой индуктировалась электродвижущая сила, оставались неподвижными. Вращался зубчатый железный диск, менявший при вращении магнитный поток, пронизывающий обмотку, в которой индуктировалась электродвижущая сила. При такой конструкции в машине не было никаких скользящих контактов и конструкция ее была достаточно проста.
Затем Яблочков построил и другую машину переменного тока. Конструировавшиеся в его время маломощные машины, приводимые в движение от трансмиссионных валов посредством ременных передач, устанавливались на сколько-нибудь мощной электростанции десятками и сильно мешали распространению электрического освещения; Яблочков поэтому занялся разработкой нового типа мощного генератора переменного тока.

Машина имела вращающиеся электромагниты (ротор), полюсы которых имели геликоидальную форму (фиг. 16). Статор был снабжен рядом обмоток, каждая достаточная для питания одной свечи. Вот, что пишет об этой машине обозреватель журнала «La Lumiere Electrique» Фр. Жеральди: «Одним из преимуществ своего индуктора (ротора) Яблочков считает то, что небольшому угловому движению соответствует значительное перемещение магнитного полюса, что дает возможность пользоваться меньшими скоростями». Машины Яблочкова строились фирмами Сотте-Лемонье и Бреге. Один из типов машин имел на статоре 32 катушки. «В данном случае, — пишет Жеральди, — замечается тенденция выйти на путь машин серьезных размеров, и это заслуживает полного внимания. Вместо того, чтобы комбинировать несколько небольших, почти игрушечных, машин, прибегая к сложным передачам и неудобным решениям, пришли, наконец, к тому, что стали строить машины, от которых, при их размерах, можно ждать превосходных результатов».
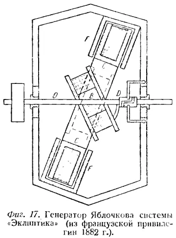
Оригинальной конструкцией отличается машина, которую Яблочков назвал «клиптической». «Основой в изобретенной мной машине, — пишет Яблочков во французской привилегии, — лежит расположение оси вращения под углом относительно оси магнитного поля; расположение, которое напоминает наклон эклиптики — отсюда имя, которое я даю машине» (фиг. 17). Этот электродвигатель был предназначен Яблочковым для работы на постоянном и на переменном токе. Трудно понять, чем руководствовался Яблочков, предлагая такую конструкцию машины. Можно только сказать, что в то время различными конструкторами предлагались разнообразные, иногда очень странные конструкции.

Яблочков изобрел еще ряд машин, в частности, легкий электродвигатель, генератор переменного тока с наклонными пазами и др., но все его изобретения в этой области по причинам уже сказанным применения не получили.
Интересно отметить, что Яблочков работал и над так называемыми электростатическими генераторами, над которыми последние годы много работали и работают современные нам электрики. Именно, в 1879 г. он взял французскую привилегию на машину для получения «переменного или выпрямленного тока, — говорится в привилегии, — при помощи статического электричества». Машина в общем состоит из ряда дисков с острыми зубцами по окружности, насаженными на вращающийся вал. Зубцы входят в соответствующие промежутки между рядом неподвижных дисков. Неподвижные диски получают электрический заряд; заряды, наводимые в подвижных дисках, непосредственно передаются во внешнюю цепь (фиг. 18). Повидимому, эта машина не была осуществлена.

От изобретательства в области машин Яблочков уже с 1880 г. отвлекся в совсем другую сторону.
Тогда, как и в настоящее время, многих электриков увлекала мысль получать электрическую энергию непосредственно за счет энергии химических превращений, избегая промежуточных превращений, как-то: сжигания топлива для получения механической энергии и последующего превращения ее, при помощи динамомашины, в электрическую. Примером электрических генераторов такого рода служили гальванические элементы или термоэлектрические батареи.
Читать дальшеИнтервал:
Закладка: