Иван Никитко - Водоснабжение, канализация и отопление загородного дома
- Название:Водоснабжение, канализация и отопление загородного дома
- Автор:
- Жанр:
- Издательство:Издательство «Питер»046ebc0b-b024-102a-94d5-07de47c81719
- Год:2013
- Город:Санкт-Петербург
- ISBN:978-5-496-00463-3
- Рейтинг:
- Избранное:Добавить в избранное
-
Отзывы:
-
Ваша оценка:
Иван Никитко - Водоснабжение, канализация и отопление загородного дома краткое содержание
Налаженное функционирование систем водоснабжения, канализации и отопления – это комфорт и удобство всех проживающих в доме. И если даже не требуется вашего непосредственного участия в монтажных работах (практически все действия подобного типа должны выполняться специалистами, имеющими соответствующие лицензии), все равно необходимы пристальное внимание и контроль. Ведь от того, как будут налажены эти системы, зависит многое, в том числе и уровень эксплуатационных расходов. Поэтому будьте внимательны, подходите к вопросам водоснабжения, канализации и отопления со всей тщательностью и ответственностью. И пусть в вашем доме будет тепло и уютно.
Водоснабжение, канализация и отопление загородного дома - читать онлайн бесплатно ознакомительный отрывок
Интервал:
Закладка:
Внешне напорные и технические полиэтиленовые трубы легко отличить по цвету: технические обычно окрашены в серый цвет, а напорные бывают черными, белыми и синими. Фальсификаторы, которые хотят выдать технические трубы за напорные и, соответственно, продать дороже, перекрашивают их в черный цвет. Поэтому вне зависимости от цвета труб нужно требовать у продавца сертификат о качестве. Помните: он выдается только на напорные трубы, а на технические – нет.
Если вы хотите устроить с помощью полиэтиленовых труб надземный водопровод (например, для поливки участка), то рекомендуется брать для этого трубы черного цвета. Обычно предпочтение отдается белым трубам – они выглядят эстетичнее, участок приобретает нарядный вид. Однако при изготовлении черных труб в качестве присадки используется сажа, и это препятствует разрушению полиэтилена под действием солнечной радиации. Синие и белые трубы подобной защиты не имеют и гораздо менее пригодны для сооружения надземного водопровода.
Для тех, кто не может отказаться от излюбленного стереотипа о металлических трубах как самых прочных и долговечных, рекомендуются трубы из металлопластика. Эти трубы достаточно бюджетны (дороже пластиковых, но существенно дешевле металлических), просты в монтаже, экологически безопасны и не подвержены коррозии – они обладают всеми достоинствами пластиковых труб. Единственный минус труб из металлопластика – соединения. Возможно применение только металлических фитингов, а они, к сожалению, не так коррозионно-устойчивы, как металлопластик.

Примечание
Фитингами называются крепежные части водопровода, которые устанавливаются в местах соединений, разветвлений и поворотов труб.
Внутренний водопровод
Внутренний водопровод предназначен для обслуживания основных сантехнических узлов в доме. Это система, включающая в себя водомерные и разводящие узлы, стояки, вводы в дом (обычно имеются два ввода), подводки к санитарным устройствам (краны, сливные бачки и т. д.), различные насосные установки, если в них есть необходимость.
В зависимости от расположения магистральных трубопроводов, водопроводы бывают с нижней и верхней разводкой. Тип внутреннего водопровода следует выбирать с учетом условий подачи и расхода воды, размещения водоподающих установок (Рис. 1.33).
При нижней разводке трубы помещают в подвальном помещении здания. Если дом имеет два и более этажа, санитарно-технические устройства и соответствующая водоразборная арматура обычно размещаются строго друг над другом (при этом прокладка трубопроводов идет по кратчайшей траектории). Но в частном загородном доме кратчайшая траектория не является обязательным условием, ведь санитарно-технические устройства на разных этажах могут быть различными (например, на первом этаже располагаются кухня, туалет, ванная комната с душевой кабиной и ванной, а на втором – ванная комната только с душевой кабиной и туалет, причем эти помещения примыкают к спальной комнате). Так что кратчайшую траекторию приходится рассчитывать, исходя из пожеланий в размещении устройств и водоразборной арматуры.

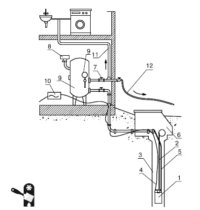
Рис. 1.33.Водоснабжение загородного дома от скважины: 1 – погружной насос для подъема воды из скважины; 2 – стальной трос; 3 – скважина; 4 – электрический кабель; 5 – водопроводный шланг; 6 – приямок; 7 – запорный вентиль; 8 – реле давления; 9 – манометр; 10 – напорный гидробак; 11 – трубы внутреннего водопровода; 12 – вывод воды для использования на участке
Системы водоснабжения различаются в зависимости от требуемого напора:
✓ система под напором – не рекомендуется к применению, если в наружном водопроводе нет гарантии наличия стабильного напора (например, в случае подключения загородного дома к централизованной системе водоснабжения, которая работает не слишком стабильно) – чтобы система под напором работала, напор наружного водопровода должен либо превышать тот напор, который необходим для работы всех водоразборных точек в доме, либо равняться ему; к плюсам такой системы относится ее простота, обычно она используется в малоэтажном строительстве (до 5–6 этажей);
✓ система с водонапорным баком – считается устаревшей и применяется все реже, обычно ее используют, если напор в точках водоразбора нестабилен и превышает нужный при небольшом водопотреблении, а при активном – его не хватает; основной недостаток системы с водонапорным баком – наличие бака, который устанавливается под крышей дома, что требует соответствующего усиления перекрытий, а в некоторых случаях и фундамента;
✓ повысительные насосные установки – используются в случае, если водопотребление является равномерным, а напор в наружном водопроводе недостаточен (подобное обычно относится к случаю подключения к централизованной системе водоснабжения); плюсом такой системы является то, что для нее не требуется ни усиливать перекрытия, ни перестраивать фундамент, установка располагается в подвале и не занимает много места;
✓ водонапорный бак с повысительной насосной установкой – повысительная насосная установка дополняется водонапорным баком в том случае, если водопотребление неравномерно и требуется накопление воды в баке-аккумуляторе для обеспечения нормального напора в час пик;
✓ водонасосная (пневматическая) система с повысительными насосными установками – применяется в многоэтажном строительстве, оборудование является и дорогим, и сложным, для индивидуальных загородных домов нерентабельно.
Глава 2
Канализация загородного дома
Практически любая система канализации (за исключением «удобств во дворе») является частью системы водоснабжения (водопотребления). Если нет возможности сброса и обеззараживания сточных вод, то невозможно и установить водопровод. Да, можно не подключаться к канализации, а под раковину попросту поставить ведро, чтобы собирать в него использованную при умывании или мытье посуды воду. Но ведь эту грязную воду все равно потребуется куда-то деть! Так что без канализации в том или ином виде не обойтись.
В самом общем виде система канализации предназначена для удаления и очистки продуктов жизнедеятельности человека (бытовых и промышленных отходов, как твердых, так и жидких), а также возвращения их после очистки в водоемы или для вторичного использования. Вторичное использование в случае бытовых отходов в канализации жилого дома применяется редко. Кроме того, в ведении канализационной системы находится и отвод талых и дождевых вод – то, что называется ливневой канализацией . Если же ливневая канализация хотя бы в самом простом виде не предусмотрена, то это может привести не только к заболачиванию участка, вымыванию его плодородного слоя, потере внешней привлекательности участка, но и к затоплению подвала дома, преждевременному разрушению цоколя, фундамента и даже стен дома.
Читать дальшеИнтервал:
Закладка: