Иван Никитко - Водоснабжение, канализация и отопление загородного дома
- Название:Водоснабжение, канализация и отопление загородного дома
- Автор:
- Жанр:
- Издательство:Издательство «Питер»046ebc0b-b024-102a-94d5-07de47c81719
- Год:2013
- Город:Санкт-Петербург
- ISBN:978-5-496-00463-3
- Рейтинг:
- Избранное:Добавить в избранное
-
Отзывы:
-
Ваша оценка:
Иван Никитко - Водоснабжение, канализация и отопление загородного дома краткое содержание
Налаженное функционирование систем водоснабжения, канализации и отопления – это комфорт и удобство всех проживающих в доме. И если даже не требуется вашего непосредственного участия в монтажных работах (практически все действия подобного типа должны выполняться специалистами, имеющими соответствующие лицензии), все равно необходимы пристальное внимание и контроль. Ведь от того, как будут налажены эти системы, зависит многое, в том числе и уровень эксплуатационных расходов. Поэтому будьте внимательны, подходите к вопросам водоснабжения, канализации и отопления со всей тщательностью и ответственностью. И пусть в вашем доме будет тепло и уютно.
Водоснабжение, канализация и отопление загородного дома - читать онлайн бесплатно ознакомительный отрывок
Интервал:
Закладка:

Рис. 2.1.Устройство выгребной ямы: 1 – бетонное основание; 2 – кирпичные стены; 3 – глиняный замок; 4 – вытяжка; 5 – чугунная крышка; 6 – деревянная крышка
Для снижения расходов на обустройство выгребной ямы можно изготавливать стены из досок (древесины хвойных пород). В этом случае необходимо плотно подгонять доски друг к другу, затем конопатить все щели и покрывать стены двумя слоями битума в качестве гидроизоляции.
Дно ямы должно иметь уклон в сторону люка. Оно обустраивается так же, как и стены: сначала слой жирной глины, затем укладка кирпичей, камня, бетонирование или настилка досок, затем – гидроизоляция.
Возможно также устройство выгребной ямы из бетонных колец (аналогично колодцу). Для выгребной ямы достаточно 2–3 колец диаметром 1,5–2 м. После того как кольца установлены на место, их нужно оштукатурить цементным раствором и покрыть слоем битума для гидроизоляции.
Когда сама яма готова, устраивается перекрытие. Самый простой и дешевый вариант – перекрытие из деревянных щитов с гидроизоляцией из рубероида (щиты просто обиваются им). У такого перекрытия имеется существенный недостаток: оно недолговечно (дерево подвержено гниению, а рубероид в условиях агрессивной среды быстро теряет гидроизолирующие свойства). Сложнее, но гораздо надежнее изготовить перекрытие из железобетона (Рис. 2.2).

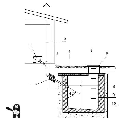
Рис. 2.2.Подключение выгребной ямы к внутренней канализации дома: 1 – сантехническое оборудование в доме; 2 – вентиляционная труба; 3 – стояк; 4 – плита перекрытия; 5 – чугунная крышка; 6 – ступеньки; 7 – кирпичная кладка; 8 – кирпичные или бетонные стены; 9 – цементная штукатурка; 10 – глиняный замок
Для последующей очистки выгребной ямы в перекрытии предусматривается люк, обычно размером 70 × 70 см. Люк должен иметь две крышки: одна располагается над перекрытием, а вторая – на уровне почвы. Перекрытие изолируется слоем жирной глины (0,25–0,3 м) и засыпается грунтом.
Минусом выгребной ямы является необходимость контроля ее заполнения. Когда выгребная яма заполняется, нужно вызывать ассенизационную машину для очистки – следовательно, приходится еще устраивать подъездную дорожку к яме (Рис. 2.3). Если проживание в доме сезонное или наездами, то очистка требуется раз в несколько сезонов. Если в доме даже при сезонном использовании проживает несколько человек, то очищать выгребную яму приходится раз в сезон.

Рис. 2.3.Очистка выгребной ямы
Если дом предназначен для постоянного проживания или семья довольно большая, то одной выгребной ямой не обойтись либо придется очищать ее несколько раз в месяц, да еще и ограничивать использование воды для бытовых нужд (например, отказаться от принятия ванны или душа, заменив эту процедуру легкими обтираниями губкой). В этом случае проблему сточных вод придется решать с помощью индивидуальных очистных сооружений.
Обычно индивидуальные очистные сооружения представляют собой септик и фильтрующий колодец ( фильтрующие траншеи, поля подземной фильтрации – в зависимости от объема сточных вод, подлежащих очистке) (Рис. 2.4).
Септик – это емкость для отстаивания и первичной очистки сточных вод. Такая емкость может быть изготовлена из полиэтилена, пластика, металла, бетона. Самыми дешевыми являются септики из полиэтилена и пластика. Они имеют еще один плюс: их легко устанавливать (эти септики немного весят). К минусам полиэтиленовых и пластиковых септиков относится небольшой срок эксплуатации – материалы довольно хрупкие и подверженные внешним воздействиям (особенно сильно полиэтилен и пластик разрушаются в морозные зимы – материалы обладают низкой морозоустойчивостью). Так что сэкономленное при приобретении полиэтиленового или пластикового септика приходится доплачивать за счет частой замены.

Рис. 2.4.Однокамерный поверхностный септик: 1 – септик; 2 – ввод стоков в септик из дома; 3 – вентиляция; 4 – вывод осветленных сточных вод в фильтрующий колодец
Металлические септики отличаются прочностью, но они подвержены коррозии, особенно в условиях агрессивной среды сточных вод. Можно использовать септики из нержавеющей стали, но цена на них весьма далека от демократичной.
Оптимальным по соотношению «цена/качество» является бетонный септик. К плюсам бетона относится его устойчивость к неблагоприятным воздействиям внешней среды, бетон не гниет и не ржавеет. Недостатком бетонного септика является сложность установки, но это компенсируется длительным сроком эксплуатации. Единственная проблема бетонного септика – гигроскопичность материала, поэтому требуется устройство надежной гидроизоляции корпуса.
Стандартный септик состоит из трех камер, соединенных друг с другом. Соединение выполняется таким образом, что скорость перемещения стоков между камерами очень мала, и они могут отстаиваться, разделяясь на фракции. При этом твердая фракция выпадает в виде осадка на дно, а газообразная выходит из септика, перемещение продолжает жидкая фракция. К моменту выхода сточных вод из септика практически вся твердая фракция удаляется, а воды осветляются примерно до 65 %. Такое осветление еще недостаточно, чтобы сточные воды можно было сразу сбрасывать в водоем или даже просто в грунт там, где они могут просочиться в систему водоснабжения или даже в сад. Поэтому после септика сточные воды должны отводиться для дальнейшей фильтрации либо в фильтрующие колодцы, либо в фильтрующие канавы, либо на поле поглощения.
Следует помнить, что септики нуждаются в периодическом обслуживании, так как осевшую на дно твердую фракцию необходимо регулярно удалять. Периодичность обслуживания – примерно раз в год (в зависимости от объема септика и объема сточных вод). Выбирая септик, необходимо учитывать суточный объем сточных вод: в соответствии с санитарными нормами анаэробный процесс их брожения (процесс, протекающий при отсутствии кислорода) должен длиться трое суток, поэтому объем септика должен быть как минимум в три раза больше, чем суточный объем сточных вод.
Фильтрующий колодец – простейший и самый малогабаритный вариант подземной фильтрации сточных вод, поступающих из септика (Рис. 2.5, 2.6).
Фильтрующий колодец используется, если объем сточных вод не превышает 1 м 3. При больших объемах следует использовать фильтрующую траншею или поле поглощения (фильтрующее поле) (Рис. 2.7).
Читать дальшеИнтервал:
Закладка: