Иван Никитко - Водоснабжение, канализация и отопление загородного дома
- Название:Водоснабжение, канализация и отопление загородного дома
- Автор:
- Жанр:
- Издательство:Издательство «Питер»046ebc0b-b024-102a-94d5-07de47c81719
- Год:2013
- Город:Санкт-Петербург
- ISBN:978-5-496-00463-3
- Рейтинг:
- Избранное:Добавить в избранное
-
Отзывы:
-
Ваша оценка:
Иван Никитко - Водоснабжение, канализация и отопление загородного дома краткое содержание
Налаженное функционирование систем водоснабжения, канализации и отопления – это комфорт и удобство всех проживающих в доме. И если даже не требуется вашего непосредственного участия в монтажных работах (практически все действия подобного типа должны выполняться специалистами, имеющими соответствующие лицензии), все равно необходимы пристальное внимание и контроль. Ведь от того, как будут налажены эти системы, зависит многое, в том числе и уровень эксплуатационных расходов. Поэтому будьте внимательны, подходите к вопросам водоснабжения, канализации и отопления со всей тщательностью и ответственностью. И пусть в вашем доме будет тепло и уютно.
Водоснабжение, канализация и отопление загородного дома - читать онлайн бесплатно ознакомительный отрывок
Интервал:
Закладка:
Важный элемент водосточной системы кровли – желоба. Их назначение – непосредственный сбор воды, стекающей с крыши. Желоба монтируют с небольшим уклоном, чтобы вода из них могла свободно стекать в трубы водостока, куда она поступает с помощью воронок. Этот элемент водосточной системы несет большую нагрузку, а потому при его установке необходимо отдельное надежное крепление, иначе перекос воронки, а вместе с ним и повреждения водостока гарантированы уже в первую зиму. Чтобы труба водостока могла обойти выступающие части здания, а также для отвода воды от цоколя применяются так называемые колена.
Чаще всего для стыковки отдельных секций на концах труб предусматривают уширения, и элементы водостока вставляют друг в друга, но иногда для сочленения применяют специальные муфты.
Монтаж пластиковых водостоков имеет некоторые особенности. Если элементы просто соединять встык, то при сильном изменении температуры водосток может деформироваться и даже лопнуть. Поэтому такие водосточные системы комплектуются компенсаторами температурного расширения.
Чтобы предотвратить деформацию металлических водостоков, их отдельные части соединяют специальной муфтой.
Внешняя ливневая канализация
Внешняя ливневая канализация состоит из трех систем:
✓ сбора талых и дождевых вод;
✓ фильтрации талых и дождевых вод;
✓ водоотведения талых и дождевых вод.
Чаще всего владельцев загородных домов интересуют только две системы: сбор и водоотведение талых и дождевых вод. Система фильтрации стоит весьма недешево и довольно габаритна, поэтому домовладельцы предпочитают просто вывести талые и дождевые воды за пределы своего участка – а там пусть они стекают в общественную ливневую канализацию, где и проходят полагающуюся очистку и фильтрацию (Рис. 2.10).

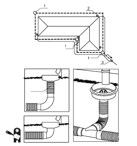
Рис. 2.10.Ливневая канализация: 1 – воронка под водосточную трубу; 2 – коллекторный колодец; 3 – дренажный колодец; 4 – колодец для дождевой воды; 5 – сброс воды в грунт; 6 – обратный клапан
Ливневая канализация может быть как открытой, так и закрытой. При открытой ливневой канализации для сбора и отвода воды используются открытые канализационные каналы (в простейшем варианте – канавки с уклоном в сторону улицы). При закрытой ливневой канализации эти каналы являются закрытыми (для этого используются трубы, чаще всего бетонные или полиэтиленовые). Может использоваться и ливневая канализация смешанного типа – с открытыми и закрытыми канализационными каналами.
Грамотный расчет ливневой канализации – дело непростое. Следует учитывать множество факторов, начиная от погодных условий (среднегодовое количество осадков в данной местности, количество солнечных и пасмурных дней, температура и т. д.) и заканчивая типом грунта на участке. Немаловажное значение имеет и глубина залегания грунтовых вод, наличие или отсутствие на участке автономной системы водоснабжения (колодца или скважины) и многое другое. Нужно рассчитать планируемое количество талых и дождевых вод, которые будут поступать не только с самого участка, но и на участок – с прилегающих территорий (к примеру, если участок располагается в довольно низком месте, то на него будут попадать все воды с более высоких мест). Лучше всего доверить такой расчет специалистам, потому что, занимаясь планированием ливневой канализации самостоятельно, можно получить довольно дорогостоящую систему, которая не будет эффективно работать.
Именно потому, что полноценная ливневая канализация является дорогостоящим и относительно сложным оборудованием, владельцы загородных домов предпочитают ограничиваться «урезанным» вариантом.
В случае небольшого дачного или загородного дома ливневая канализация представляет собой несколько канав, прокопанных до улицы. В эти канавы могут быть вмонтированы пластиковые желоба, или канавы могут быть забетонированы (устраиваются бетонные желоба), а могут быть оставлены как есть (в случае глинистых плотных грунтов).
Если участок достаточно велик и на нем собирается много талых и дождевых вод, то перекапывать его разнообразными канавками – не слишком хорошая идея. Проще установить закрытую систему ливневой канализации в упрощенном виде: уложить в выкопанные канавки трубы, которые будут доставлять талые и дождевые воды за пределы участка (Рис. 2.11). При этом коллекторный колодец находится уже за пределами участка и является частью общественной системы ливневой канализации.
При устройстве ливневой канализации закрытого типа необходимо учесть возможную нагрузку на трубы (например, будет над трубами расположена пешеходная или подъездная дорожка, то есть придется ли трубам выдерживать вес человека либо автомобиля). Цена труб различается в зависимости от предполагаемой нагрузки, а соответственно, изменяется стоимость монтажа ливневой канализации.

Рис. 2.11.Устройство ливневой канализации: 1 – дренажный колодец; 2 – воронка для сбора воды с крыши; 3 – коллекторный колодец
Глава 3
Отопление загородного дома
Жилой дом должен иметь систему отопления – это аксиома. Если отопительной системы нет, то это означает не только определенное неудобство проживания (к примеру, если дом используется сезонно – только в теплое время года, то о неудобствах проживания говорить не приходится), но и уменьшение безремонтного срока эксплуатации самого дома: сырость и перепады температуры разрушают стены, кровлю и фундамент. Так что загородный дом желательно снабдить системой теплоснабжения даже в том случае, если вы не планируете проживание в нем в холодные периоды – в таких случаях рекомендуется периодически приезжать и протапливать дом.
Система теплоснабжения включает в себя:
✓ источник теплоты;
✓ трубопроводы;
✓ системы потребления тепла с нагревательными приборами.
Системы теплоснабжения разделяют по радиусу действия:
✓ местные системы теплоснабжения – это системы, в которых совмещается выработка и передача тепла (к примеру, печь, которая является одновременно источником теплоты и нагревательным прибором);
✓ центральные системы теплоснабжения – они снабжают теплом здание любой величины от единого источника (таким источником обычно является отопительный котел);
✓ централизованные – предназначены для снабжения теплом нескольких зданий.
Чаще всего применяется совмещенная прокладка теплопроводов, то есть они прокладываются в проходных каналах вместе с остальными коммуникационными соединениями (водопровод, электрокабели, газопровод). В таких каналах высотой 1,8–2 м обязательно предусматривается вентиляция, а люки выхода устанавливаются по трассе канала через каждые 300 м на глубине 0,5–1 м. Все люки снабжаются откидной лестницей.
Читать дальшеИнтервал:
Закладка: