Иван Никитко - Водоснабжение, канализация и отопление загородного дома
- Название:Водоснабжение, канализация и отопление загородного дома
- Автор:
- Жанр:
- Издательство:Издательство «Питер»046ebc0b-b024-102a-94d5-07de47c81719
- Год:2013
- Город:Санкт-Петербург
- ISBN:978-5-496-00463-3
- Рейтинг:
- Избранное:Добавить в избранное
-
Отзывы:
-
Ваша оценка:
Иван Никитко - Водоснабжение, канализация и отопление загородного дома краткое содержание
Налаженное функционирование систем водоснабжения, канализации и отопления – это комфорт и удобство всех проживающих в доме. И если даже не требуется вашего непосредственного участия в монтажных работах (практически все действия подобного типа должны выполняться специалистами, имеющими соответствующие лицензии), все равно необходимы пристальное внимание и контроль. Ведь от того, как будут налажены эти системы, зависит многое, в том числе и уровень эксплуатационных расходов. Поэтому будьте внимательны, подходите к вопросам водоснабжения, канализации и отопления со всей тщательностью и ответственностью. И пусть в вашем доме будет тепло и уютно.
Водоснабжение, канализация и отопление загородного дома - читать онлайн бесплатно ознакомительный отрывок
Интервал:
Закладка:
У современных твердотопливных котлов имеется возможность автоматического поддержания заданной температуры теплоносителя на выходе из котла – для этого он оснащается специальным датчиком, который даже не требует подключения к электрической сети, а механически соединен с заслонкой (при повышении температуры теплоносителя выше заданной заслонка автоматически прикрывается, замедляя таким образом процесс горения, и температура снижается). Такая функция существенно повышает удобство эксплуатации твердотопливного котла. К современному твердотопливному котлу можно присоединить тепловой аккумулятор, который днем накапливает избыток тепла, вырабатываемого котлом (обычно днем, когда дома никого нет, не требуется столько тепла, сколько в вечернее и ночное время суток), а ночью отдает его в отопительную систему – это позволяет сэкономить не только время на обслуживание котла (при наличии такого аккумулятора твердотопливный котел можно загружать раз в сутки), но и топливо, что снижает эксплуатационные расходы.
Немаловажным плюсом является то, что твердотопливные котлы – экологически чистые, особенно если сравнивать их с котлами, работающими на жидком топливе.
К одним из основных минусов относится то, что твердотопливные котлы не являются полностью автоматическими и периодически требуется подгружать топливо. Оно может загружаться в котел вручную, но также можно использовать устройство для механизированной подачи топлива – некоторые производители твердотопливных котлов предлагают такой дополнительный сервис для улучшения условий эксплуатации котлов с мощностью, превышающей 300 кВт (такие котлы требуют много топлива, и ручная загрузка для них тяжела) (Рис. 3.4).
Нельзя забывать и о том, что топливо для твердотопливного котла нужно где-то хранить, причем хранилище должно быть оборудовано поблизости от котла (вряд ли кому-то захочется бегать с вязанкой дров или ведром угля через весь участок каждый раз, как потребуется подгрузка топлива в котел). Еще потребуется оборудованная подъездная дорожка для грузового автотранспорта – топливо для твердотопливного котла требует грузового автомобиля. Но при этом следует учитывать, что сам по себе твердотопливный котел стоит существенно дешевле, чем газовый или электрический (ценовая разница достигает 50–70 % в зависимости от производителя отопительного оборудования).

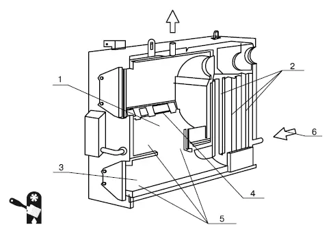
Рис. 3.4.Твердотопливный котел с устройством механизированной подачи топлива: 1 – электродвигатель-редуктор; 2 – оперативный вибробункер; 3 – система управления; 4 – шнек
При использовании твердотопливного котла в отопительной системе с принудительной циркуляцией теплоносителя может возникнуть проблема, связанная с перебоями в подаче электроэнергии: при отключении электроэнергии останавливается циркуляционный насос и возникает опасность перегрева котла, причем с этим перегревом может не справиться автоматика, предназначенная для замедления горения топлива и снижения температуры. В результате котел может выйти из строя. Чтобы этого не происходило, многие производители оснащают твердотопливные котлы специальным аварийным теплообменником. Он может быть как встроенным, так и отдельным (в этом случае к нему прилагается необходимая запорно-регулирующая арматура).
При выборе твердотопливного котла следует подумать о модификации: либо вариант, который предназначен для всех видов твердого топлива, либо тот, который предназначен для сжигания древесины и древесных отходов. Основной критерий выбора: какой именно вид топлива является наиболее доступным, удобным и дешевым (например, поблизости от лесопилки имеет смысл выбрать твердотопливный котел, работающий на древесине и древесных отходах – на лесопилке всегда можно недорого приобрести отходы производства). Некоторые производители (к примеру, фирма Dakon) выпускают котлы, предназначенные для сжигания древесины и древесных отходов, в усовершенствованном виде: такие котлы оснащаются жаростойкими сегментами камеры сгорания, а также шамотными досками, которые в данном случае являются катализатором, – при этом появляется возможность использовать в качестве топлива древесину с влажностью до 35 %.
Твердотопливные отопительные котлы в сочетании со стальными трубопроводами – непременная принадлежность отопительных систем с естественной циркуляцией теплоносителя, именно они используются в таких системах чаще всего.
Все большую популярность приобретают пиролизные (газогенераторные) котлы , то есть котлы с пиролизным сжиганием древесины, когда сгорает не только сама древесина, но и древесный газ (Рис. 3.5). Такой тип котлов известен давно, газогенераторными котлами оснащались автомобили еще во время Второй мировой войны. Кроме обычных плюсов твердотопливного котла, пиролизные котлы имеют дополнительные бонусы: КПД их достигает 90 %, не образуется сажа, а количество золы минимально, имеется возможность регулировать мощность (от 30 до 100 %). Использование пиролизных котлов позволяет существенно сэкономить топливо и, как следствие, значительно снизить эксплуатационные расходы в отопительный сезон.
Древесный газ в пиролизном котле выделяется из древесины при сгорании в условиях недостатка кислорода. Данный процесс протекает в первичной камере сгорания, и температура при этом составляет примерно +450 °C. Затем древесный газ проходит через керамическое сопло и поступает во вторую камеру сгорания, где смешивается с воздухом, температура горения такой смеси составляет примерно +560 °C. Во второй камере сгорания происходит сжигание пиролизных газов, причем температура во время этого процесса достигает около +1100 °C. Теплообменник котла находится рядом с камерой для сжигания древесных газов, что позволяет котлу работать с максимальной эффективностью (Рис. 3.6). При этом температура выхлопных газов составляет около +160 °C.

Рис. 3.5.Пиролизный (газогенераторный) отопительный котел: 1 – камера загрузки топлива; 2 – теплообменник; 3 – камера сгорания; 4 – канал первичного воздуха (изготавливается из жаропрочной стали); 5 – футеровка (изготавливается из муллитокорундового бетона); 6 – теплоноситель
К недостаткам пиролизных котлов относится более высокая (по сравнению с традиционными твердотопливными котлами) цена, а также электрозависимость.
Жидкотопливные котлы
Котлы, работающие на жидком топливе , устанавливаются редко в качестве основного источника отопления загородного дома, несмотря на очевидные плюсы: высокий КПД, отсутствие разрешительных документов на монтаж (к примеру, для установки газового котла требуется специальное разрешение), можно подобрать котел для снабжения горячей водой и отопления помещения любой площади, имеется возможность автоматизации работы всей системы отопления (в том числе и обеспечение защиты от опасных режимов работы).
Читать дальшеИнтервал:
Закладка: