Иван Никитко - Водоснабжение, канализация и отопление загородного дома
- Название:Водоснабжение, канализация и отопление загородного дома
- Автор:
- Жанр:
- Издательство:Издательство «Питер»046ebc0b-b024-102a-94d5-07de47c81719
- Год:2013
- Город:Санкт-Петербург
- ISBN:978-5-496-00463-3
- Рейтинг:
- Избранное:Добавить в избранное
-
Отзывы:
-
Ваша оценка:
Иван Никитко - Водоснабжение, канализация и отопление загородного дома краткое содержание
Налаженное функционирование систем водоснабжения, канализации и отопления – это комфорт и удобство всех проживающих в доме. И если даже не требуется вашего непосредственного участия в монтажных работах (практически все действия подобного типа должны выполняться специалистами, имеющими соответствующие лицензии), все равно необходимы пристальное внимание и контроль. Ведь от того, как будут налажены эти системы, зависит многое, в том числе и уровень эксплуатационных расходов. Поэтому будьте внимательны, подходите к вопросам водоснабжения, канализации и отопления со всей тщательностью и ответственностью. И пусть в вашем доме будет тепло и уютно.
Водоснабжение, канализация и отопление загородного дома - читать онлайн бесплатно ознакомительный отрывок
Интервал:
Закладка:
Несмотря на то что жидкотопливные котлы ориентированы не только на использование солярки в качестве топлива, при использовании других видов жидкого топлива (не солярки) могут возникать определенные сложности. Например, для обеспечения эффективной работы котлового оборудования необходимо устанавливать горелку, оптимизированную для определенной топливной смеси по таким параметрам, как вязкость, а также состав, который может отличаться в зависимости от поставщика (например, состав отработки масел различный не только в разных странах, но даже в разных регионах одной страны и в разных городах). Следует учитывать, что жидкотопливный котел имеет различную эффективность при применении разного жидкого топлива.

Рис. 3.10.Турбуляторы для жидкотопливного котла
Если планируется использовать жидкотопливный котел для таких видов топлива, которые выделяют большое количество продуктов сгорания (отработка масел как органического, так и синтетического происхождения, мазута и т. д.), рекомендуется выбирать котел, оснащенный не только передней дверкой (в нее встраивается горелка), но и задней – в этом случае увеличивается удобство обслуживания котла и проще становится очистка дымогарных каналов.
Газовые котлы
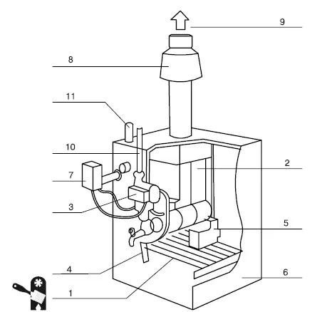
Газовый отопительный котел работает на природном газе, как на магистральном, так и на сжиженном (Рис. 3.11). Его основным плюсом считается достаточно низкая цена топлива (особенно если имеется магистральный газ). При этом не требуется дополнительного помещения для хранения запасов топлива, как в случае с твердотопливным котлом или котлом, работающим на жидком топливе (если имеется магистральный газ, а если же приходится пользоваться сжиженным, то необходимо предусмотреть место для установки запасного баллона, но это все же не отдельное помещение, а лишь немного места).

Рис. 3.11.Газовый котел: 1 – горелка; 2 – теплообменник; 3 – циркуляционный насос; 4 – кожух котла; 5 – газовый клапан; 6 – подача газа; 7 – блок управления; 8 – дымоход; 9 – выход отработанных газов; 10 – прямая отопления; 11 – отвод излишков топлива (обратка отопления)
Одним из основных недостатков газовых котлов является необходимость отдельного помещения для его установки, причем оно должно быть оборудовано в соответствии с требованиями строительных норм и правил. Требования к проектированию котельных изложены в следующих нормативных документах: СНиП II-35-76 «Котельные установки», СП 41-104-2000 «Проектирование автономных источников теплоснабжения», СНиП 42-01-2002 «Газораспределительные системы». В соответствии с нормативами помещение для установки газового отопительного котла должно быть:
✓ площадью не менее 6 м 2;
✓ с минимальной высотой потолков 2,5 м;
✓ с внешней дверью шириной не менее 0,8 м;
✓ с окном для естественного освещения (естественное освещение должно проектироваться из расчета остекления 0,03 м 2на 1 м 3объема помещения, причем размеры оконных проемов должны быть минимальными);
✓ с вытяжной и приточной вентиляцией (должны быть обеспечены приток свежего воздуха и удаление «отработанного», при этом вытяжная вентиляция должна соответствовать объему трехкратного воздухообмена помещения в час, а приточная – объему вытяжной плюс количество воздуха, необходимое для поддержания процесса горения газа);
✓ если котельная обустраивается в отдельном помещении в доме (а не в отдельной постройке) или в пристройке к дому, то от смежных помещений ее должны отделять ограждающие стены с пределом огнестойкости 0,75 ч, при этом предел распространения огня по конструкции должен быть равен нулю;
✓ несущие и ограждающие конструкции крышной котельной (очень редко применяемый в индивидуальном строительстве вариант) должны иметь предел огнестойкости 0,75 ч, предел распространения пламени по конструкции, равный нулю, а кровельное покрытие основного здания под котельной и на расстоянии 2 м от ее стен должно выполняться из негорючих материалов или защищаться от возгорания бетонной стяжкой толщиной не менее 20 мм;
✓ если котельная обустраивается в отдельном помещении на первом, цокольном этаже или в подвале, то необходимо предусмотреть отдельный выход на улицу; также возможно устройство второго выхода в подсобное помещение с противопожарной дверью 3-го типа;
✓ при крышной котельной необходимо предусмотреть выход из котельной непосредственно на кровлю, а также выход на кровлю из основного здания по маршевой лестнице.
Есть ограничения на размещение пристроенной котельной, которые сложно выполнить в индивидуальном строительстве, особенно в случае небольшого дома: не допускается проектирование пристроенных котельных, непосредственно примыкающих к жилым зданиям со стороны входных подъездов и участков стен с оконными проемами, где расстояние от внешней стены котельной до ближайшего окна жилого помещения по горизонтали менее 4 м, а расстояние от перекрытия котельной до ближайшего окна жилого помещения по вертикали менее 8 м. Не допускается размещение крышных котельных непосредственно на перекрытиях жилых помещений (перекрытие жилого помещения не может служить основанием пола котельной), а также смежно с жилыми помещениями.
Небольшие маломощные (до 60 кВт) газовые котлы могут размещаться в помещении кухни. Но при этом должны быть соблюдены следующие условия:
✓ высота потолка – не менее 2,5 м;
✓ объем помещения – не менее 15 м 3плюс 0,2 м 3на каждый 1 кВт мощности отопительного котла;
✓ окно снабжено форточкой;
✓ в помещении должна быть приточно-вытяжная вентиляция из расчета: вытяжка обеспечивает трехкратный воздухообмен помещения в час, а приток – в объеме вытяжки плюс количество воздуха, необходимое для поддержания горения газа;
✓ для притока воздуха в нижней части двери должны быть предусмотрены решетка или зазор с живым сечением не менее 0,025 м 2.
Кроме требований к помещению для установки газового котла, имеются определенные требования к монтажу оборудования: необходима разрешительная документация. К тому же подключение и обслуживание газового котла может осуществлять только организация, имеющая соответствующее разрешение на работу от Госгортехнадзора и допуск СРО.
Для подключения газового котла необходимо иметь следующие документы:
✓ проект на газификацию загородного дома;
✓ сертификаты качества на устанавливаемое газовое оборудование;
✓ паспорт устанавливаемого газового оборудования;
Читать дальшеИнтервал:
Закладка: