Иван Никитко - Водоснабжение, канализация и отопление загородного дома
- Название:Водоснабжение, канализация и отопление загородного дома
- Автор:
- Жанр:
- Издательство:Издательство «Питер»046ebc0b-b024-102a-94d5-07de47c81719
- Год:2013
- Город:Санкт-Петербург
- ISBN:978-5-496-00463-3
- Рейтинг:
- Избранное:Добавить в избранное
-
Отзывы:
-
Ваша оценка:
Иван Никитко - Водоснабжение, канализация и отопление загородного дома краткое содержание
Налаженное функционирование систем водоснабжения, канализации и отопления – это комфорт и удобство всех проживающих в доме. И если даже не требуется вашего непосредственного участия в монтажных работах (практически все действия подобного типа должны выполняться специалистами, имеющими соответствующие лицензии), все равно необходимы пристальное внимание и контроль. Ведь от того, как будут налажены эти системы, зависит многое, в том числе и уровень эксплуатационных расходов. Поэтому будьте внимательны, подходите к вопросам водоснабжения, канализации и отопления со всей тщательностью и ответственностью. И пусть в вашем доме будет тепло и уютно.
Водоснабжение, канализация и отопление загородного дома - читать онлайн бесплатно ознакомительный отрывок
Интервал:
Закладка:
Поле поглощения можно устроить, если грунт на участке песчаный, а грунтовые воды залегают достаточно глубоко – не выше 1,5 м (чтобы не было инфильтрации грунтовых вод сточными водами). Поскольку в России большинство грунтов – глина и суглинок, приходится устраивать искусственный поглощающий слой из песка и щебня.
Недостаток поля поглощения в том, что под него приходится выделять довольно солидный кусок участка. Так, для семьи из 5 человек по существующим нормативам следует выделить минимально 20 м 2под поле поглощения. При этом над полем поглощения нельзя сажать деревья, располагать какие-либо постройки, подъездные дороги и т. д. Допускается только разбивка клумб. Поэтому, занимаясь планировкой участка, размещением малых архитектурных форм (например, беседок, пергол и т. д.) и хозяйственных построек, следует сразу же предусмотреть, где будет располагаться поле поглощения и каким образом к нему будут подводиться воды из септика.

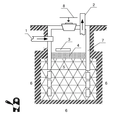
Рис. 2.5.Устройство фильтрующего колодца: 1 – ввод от септика; 2 – вентиляция; 3 – отражающая плита (используется для предотвращения вымывания ямы в слое песка); 4 – песок (20–30 см); 5 – гравийная подушка (толщина подушки – 0,8–1 м, фракция – 40–60 мм); 6 – грунт; 7 – стены колодца (кирпич, железобетон, железобетонные кольца); 8 – крышка колодца
В принципе, в почве есть бактерии, которые способны очистить любые сточные воды до идеально чистого состояния. Так что теоретически достаточно было бы сливать сточные воды в поле поглощения, прямо в почву. Но на практике процесс очистки сточных вод почвенными бактериями очень долгий, да еще и их активность в холодное время года значительно снижается (почти до полной остановки). Поэтому для повышения эффективности очистки сточных вод используются биоактиваторы – специальные препараты из нетоксичной смеси микроорганизмов и ферментов. Эти биоактиваторы размещаются в септике (достаточно регулярно смывать в унитаз необходимую дозу препарата).

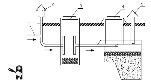
Рис. 2.6.Канализация с септиком и фильтрующим колодцем: 1 – выход сточных вод из дома; 2 – вытяжной стояк; 3 – септик; 4 – фильтрующий колодец; 5 – вентиляционный стояк
Если проживание в доме сезонное, то бактерии, имеющиеся в септике, могут погибнуть при отсутствии эксплуатации септика. В таком случае требуется восстановить популяцию. Минус заключается в том, что во время процесса восстановления пользоваться канализацией нельзя.
Комплекс из обычного септика, биоактиваторов и поля поглощения позволяет очистить сточные воды до 95 %.
Без поля поглощения можно обойтись, если использовать более сложный в устройстве септик, в котором может осуществляться многоступенчатая очистка сточных вод на основе биохимической системы (все те же биоактиваторы). Такие септики (аэротенки) обладают рядом преимуществ: они компактнее обычных септиков, занимают меньше места, не требуют дополнительной фильтрации (ни фильтрующего колодца, ни полей фильтрации) (Рис. 2.8). Современные модели не требуют и ассенизационной машины (осадки можно удалить самостоятельно или пригласить специалиста из обслуживающей компании, но не ассенизационную машину, для которой нужны подъездные дорожки).

Рис. 2.7.Фильтрующая траншея: 1 – нижняя гравийная подушка; 2 – крупнозернистый песок; 3 – нижняя дренажная труба; 4 – верхняя гравийная подушка; 5 – верхняя дренажная труба; 6 – насыпной грунт; 7 – гидроизоляция; 8 – вентиляционный стояк

Рис. 2.8.Схема аэротенка: 1 – активный ил; 2 – очищаемые сточные воды; 3 – подача воздуха; 4 – отвод избытков иловой смеси
Применению аэротенков препятствуют имеющиеся у них недостатки: необходимость ограничивать применение ряда моющих средств, которые могут неблаготворно повлиять на анаэробные бактерии, чувствительность к колебаниям нагрузки (если вдруг резко возрастет нагрузка – увеличится слив, то аэротенк уже не будет обеспечивать должную очистку сточных вод).
Самой большой проблемой аэротенков является возможная гибель анаэробных бактерий из-за отсутствия питания, поэтому их не рекомендуется использовать в домах, предназначенных для сезонного проживания. Или каждый раз придется консервировать аэротенк, а по возвращении – выращивать новую колонию анаэробных бактерий. Причем это выращивание занимает не один день. Хуже всего то, что, если аэротенк уже законсервирован, дом фактически остается без канализации и, если вы желаете приехать «не в сезон» (например, провести на природе несколько осенних или зимних дней), вам придется использовать «дворовые удобства», отказаться от водоснабжения кухни и ванной – от всего, что нуждается в канализации.
Канализация для дачи своими руками
Для маленького дачного домика, предназначенного для сезонного проживания, возможно использование простейшего устройства для сброса и очистки сточных вод из кухни и душевой (частичная бытовая канализация). Канализация может быть устроена в песчаных или торфяных грунтах и работает за счет почвенных бактерий, очищающих сточные воды.
Для оборудования такой канализации потребуется пластмассовая бочка объемом минимум 200 л. Пластмасса должна быть плотной – легкая тонкостенная бочка не подойдет. Использовать металлическую бочку не стоит: металл подвержен коррозии, а эффективная защита от нее обходится недешево.
Канализация устраивается следующим образом. Бочка разрезается пополам и вкапывается днищем вверх таким образом, чтобы около трети оставалось на поверхности. Канализационная труба вводится в оставшуюся на поверхности треть бочки. Затем верх бочки армируется металлом и заливается бетоном. После того как бетон полностью застывает, бочка засыпается грунтом.
При таком устройстве канализации сточные воды рассасываются в грунте – скорость их сброса не должна превышать скорость рассасывания, что предполагает обязательный контроль расхода воды. Правда, при этом возникает две проблемы: устройство туалета и сброс мыльной воды (или воды с различными порошками, чистящими средствами и т. д. – подобные добавки вредны для растений). Поэтому бочку нужно вкапывать подальше от сада, а туалет устраивать отдельно по древнему принципу «будка во дворе».
Читать дальшеИнтервал:
Закладка: