Виктория Крейс - Кирпичная кладка. Основы

Тут можно читать онлайн Виктория Крейс - Кирпичная кладка. Основы - бесплатно ознакомительный отрывок. Жанр: sci_tech, издательство Array Литагент «Эксмо», год 2015. Здесь Вы можете читать ознакомительный отрывок из книги онлайн без регистрации и SMS на сайте лучшей интернет библиотеки ЛибКинг или прочесть краткое содержание (суть), предисловие и аннотацию. Так же сможете купить и скачать торрент в электронном формате fb2, найти и слушать аудиокнигу на русском языке или узнать сколько частей в серии и всего страниц в публикации. Читателям доступно смотреть обложку, картинки, описание и отзывы (комментарии) о произведении.
  • Название:
    Кирпичная кладка. Основы
  • Автор:
  • Жанр:
  • Издательство:
    Array Литагент «Эксмо»
  • Год:
    2015
  • Город:
    Москва
  • ISBN:
    978-5-699-74486-2
  • Рейтинг:
    5/5. Голосов: 11
  • Избранное:
    Добавить в избранное
  • Отзывы:
  • Ваша оценка:
    • 100
    • 1
    • 2
    • 3
    • 4
    • 5

Виктория Крейс - Кирпичная кладка. Основы краткое содержание

Кирпичная кладка. Основы - описание и краткое содержание, автор Виктория Крейс, читайте бесплатно онлайн на сайте электронной библиотеки LibKing.Ru
Кирпич – доступный и практичный материал, который используют для строительства дома, бани и других хозяйственных построек на земельном участке. Эта книга ознакомит вас с видами и способами расчета количества кирпича, технологией кирпичной кладки и ее особенностями, поможет разобраться в тонкостях возведения кирпичного фундамента и стен.

Кирпичная кладка. Основы - читать онлайн бесплатно ознакомительный отрывок

Кирпичная кладка. Основы - читать книгу онлайн бесплатно (ознакомительный отрывок), автор Виктория Крейс
Тёмная тема
Сбросить

Интервал:

Закладка:

Сделать

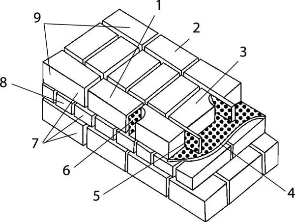
Все перечисленные грани перпендикулярны друг другу. Линии, на которых они пересекаются, называют ребрами, или усенками. Некоторые названия элементов кладки (рис. 9), а также ее некоторых видов происходят от наименований граней кирпича.

Рисунок 9 Элементы кирпичной кладки в наружной стене 1 лицевая верста 2 - фото 9

Рисунок 9. Элементы кирпичной кладки в наружной стене: 1 – лицевая верста; 2 – внутренняя верста; 3 – забутка; 4 – горизонтальный шов; 5 – вертикальный продольный шов; 6 – вертикальный поперечный шов; 7 – фасадная сторона стены; 8 – тычковый ряд; 9 – ложковый ряд

Кирпичи, составляющие наружную часть кладки (уложенные с краю) называют верстой. При возведении наружных стен различают лицевую (наружную) и внутреннюю версту. Лицевая верста при этом расположена с фасадной стороны стены. Если из-за большой толщины стены между верстами появляется один или несколько внутренних рядов кирпича, кладку, которую они составляют, называют забуткой, или забутовкой кладки.

Ряд из камней, уложенных ложками вдоль направления стены, называют ложковым рядом; ряд из кирпичей, уложенных поперек, – тычковым. Возможно также употребление названий «ложковый шов» и «тычковый шов», хотя они не совсем корректны.

Счет рядов кладки начинают с нижнего ряда: первый, второй, третий и т. д. и ведут для удобства выполнения кладки по проекту.

Промежутки в кладке между кирпичами, заполненные раствором, называют швами. Швы располагаются в трех плоскостях и имеют свои названия. Горизонтальный шов называют постелью, или постельным швом; это шов, устраиваемый между рядами кладки. Вертикальные швы бывают продольными (вдоль стены) и поперечными (перпендикулярно стене). Вертикальные швы устраивают между камнями в ряде кладки.

При выполнении сложной кладки в ней, помимо перечисленных, появляются дополнительные элементы декоративного и функционального значения.

Напуск – место в кладке, где кирпичи расположенного выше ряда нависают над кирпичами предыдущего ряда, т. е. выступают за плоскость стены. Этот элемент применяют для устройства декоративных элементов на фасаде (карнизов, поясков, полочек). Иногда напуск устраивают в несколько рядов (пример – выполнение ступенчатого карниза, рис. 10).

Рисунок 10 Напуск в несколько рядов при устройстве сложного карниза Обрез - фото 10

Рисунок 10. Напуск в несколько рядов при устройстве сложного карниза

Обрез кладки (рис. 11, 1) – элемент, противоположный напуску по смыслу. Обрезом называют место кладки, в котором следующий ряд кирпичей выкладывают с отступом от прежней лицевой поверхности стены (т. е. стена становится уже). Обрез применяют в кладке для перехода от цоколя к стенам первого этажа, при уменьшении толщины стен с ростом номера этажа (для облегчения конструкции).

Уступом (рис. 11, 2) называют «перепад» в кладке не по высоте, а по ее длине, когда часть стены выступает на небольшое расстояние относительно другой части этой же стены. Стену с уступами называют раскрепованной.

Пилястра (рис. 11, 3) – узкая часть кладки, выступающая за общую плоскость стены. Можно назвать пилястру столбом, «утопленным» в стену. Такой же элемент полукруглого сечения называют полуколонной (рис. 11, 4).

Борозда – узкое длинное углубление (горизонтальное или вертикальное) в кладке, устраиваемое в технических целях (для размещения электропроводки, труб и других скрытых коммуникаций). После размещения коммуникаций борозды заделывают заподлицо (в одной плоскости) с плоскостью стены.

Ниша (рис. 11, 5) – углубление в кладке, имеющее декоративное или функциональное значение. Во втором случае в нише могут быть размещены полки, оборудование (например, радиаторы отопления) и т. д. Глубина ниши, как и габаритные размеры других элементов кладки, обязана быть кратной половине кирпича.

Четверть (рис. 11, 6) – часть кладки вокруг дверного или оконного проема, в которой ложковые наружные версты выступают по длине на четверть кирпича, а тычковые наружные выполняются из четвертей. Забутка (при ее наличии) и внутренние версты при этом соответственно заглублены на четверть кирпича относительно наружных верст.

Рисунок 11 Дополнительные элементы кирпичной кладки 1 обрез 2 уступ 3 - фото 11

Рисунок 11. Дополнительные элементы кирпичной кладки: 1 – обрез; 2 – уступ; 3 – пилястра; 4 – полуколонна; 5 – ниша; 6 – четверти

При необходимости устроить в процессе кладки перерыв, но при этом обеспечить сцепление выложенных частей с будущей кладкой в ней устраивают штрабы (рис. 12).

Рисунок 12 Виды штраб а убежная штраба на прямом участке стены б - фото 12

Рисунок 12. Виды штраб: а) убежная штраба на прямом участке стены; б) вертикальная штраба на прямом участке стены; в) вертикальная штраба в месте примыкания другой стены; г) убежная штраба наружной версты в кладке угла; д) убежная штраба наружной версты на прямом участке стены

Штрабы бывают убежными (в виде «лесенки») или вертикальными. Убежная штраба обеспечивает лучшую связь последующей кладки с уже выполненной. В вертикальные штрабы для обеспечения жесткости соединения в швы закладывают арматуру (стальные прутья диаметром 8 мм) с интервалом по высоте в 2 м, особенно в уровне перекрытий. На каждом уровне закладки арматуры укладывают с одинаковым интервалом не менее трех прутьев.

Высота одного ряда кладки складывается из высоты кирпича выбранного типа и толщины горизонтального шва (в среднем – 12 мм). Горизонтальные размеры кладки следует проектировать кратными половине кирпича, с учетом толщины вертикальных швов (около 10 мм).

Убежные штрабы используют также в качестве маяков, для закрепления шнура-причалки. При этом выкладывают штрабу только в наружной версте (рис. 12, г – д), из ложковых рядов, если тип кладки позволяет это сделать. Штрабы-маяки располагают на расстоянии не более 10–12 м друг от друга.

Главным составляющим элементом кирпичной кладки является кирпич. Он может быть использован не только в целом виде. В кладке применяют также неполномерный кирпич (рис. 13).

Рисунок 13 Кирпич как элемент кладки а полномерный кирпич б трехчетвертка - фото 13

Рисунок 13. Кирпич как элемент кладки: а) полномерный кирпич; б) трехчетвертка; в) половинка; г) четвертка

Чаще всего из неполномерных кирпичей используют половинку (полкирпича), реже – части кирпича длиной в одну или три четверти от полного размера. Неполномерные кирпичи применяют в сложных местах кладки: при устройстве проемов, для обеспечения перевязки швов и т. д.

Читать дальше
Тёмная тема
Сбросить

Интервал:

Закладка:

Сделать


Виктория Крейс читать все книги автора по порядку

Виктория Крейс - все книги автора в одном месте читать по порядку полные версии на сайте онлайн библиотеки LibKing.




Кирпичная кладка. Основы отзывы


Отзывы читателей о книге Кирпичная кладка. Основы, автор: Виктория Крейс. Читайте комментарии и мнения людей о произведении.


Понравилась книга? Поделитесь впечатлениями - оставьте Ваш отзыв или расскажите друзьям

Напишите свой комментарий
x