Иван Никитко - Водоснабжение, канализация и отопление загородного дома
- Название:Водоснабжение, канализация и отопление загородного дома
- Автор:
- Жанр:
- Издательство:Издательство «Питер»046ebc0b-b024-102a-94d5-07de47c81719
- Год:2013
- Город:Санкт-Петербург
- ISBN:978-5-496-00463-3
- Рейтинг:
- Избранное:Добавить в избранное
-
Отзывы:
-
Ваша оценка:
Иван Никитко - Водоснабжение, канализация и отопление загородного дома краткое содержание
Налаженное функционирование систем водоснабжения, канализации и отопления – это комфорт и удобство всех проживающих в доме. И если даже не требуется вашего непосредственного участия в монтажных работах (практически все действия подобного типа должны выполняться специалистами, имеющими соответствующие лицензии), все равно необходимы пристальное внимание и контроль. Ведь от того, как будут налажены эти системы, зависит многое, в том числе и уровень эксплуатационных расходов. Поэтому будьте внимательны, подходите к вопросам водоснабжения, канализации и отопления со всей тщательностью и ответственностью. И пусть в вашем доме будет тепло и уютно.
Водоснабжение, канализация и отопление загородного дома - читать онлайн бесплатно ознакомительный отрывок
Интервал:
Закладка:
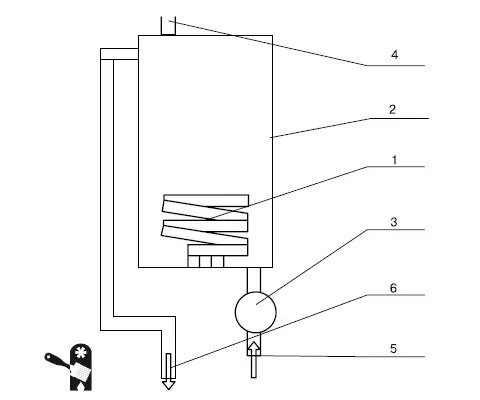
Принцип работы ТЭНового электрического котла очень прост: теплоноситель нагревается под действием ТЭНа, а затем прокачивается по отопительной системе. ТЭНовые электрические котлы оснащаются автоматическим стравливателем воздуха (Рис. 3.18).

Рис. 3.18.ТЭНовый электрический котел: 1 – ТЭН; 2 – теплообменник; 3 – циркуляционный насос; 4 – автоматический стравливатель воздуха; 5 – вход теплоносителя в котел; 6 – выход теплоносителя из котла
ТЭНовые электрические котлы просты в обслуживании, могут работать на перегретой воде, функционировать и при выходе из строя одного ТЭНа, а мощность котла определяется только напряжением сети и не зависит от вида теплоносителя (возможно с равным успехом использование как воды, так и антифризов). Немаловажным плюсом ТЭНовых электрических котлов является их электробезопасность – по сравнению с другими видами электрических котлов, так как основной электроприбор (нагревательная спираль) не имеет контакта с теплоносителем.
К недостаткам ТЭНовых котлов относится небольшой срок службы, отнюдь не демократичная стоимость (в ТЭНовых котлах используются дорогостоящие материалы, что приводит к высокой стоимости самого изделия). Проблему также представляет накипь, которая образуется при применении в отопительной системе жесткой воды: при наличии накипи более 3 мм ухудшается охлаждение ТЭНа, что приводит к его перегоранию. В результате возникает необходимость использовать в отопительной системе с ТЭНовым котлом воду, прошедшую водоподготовку для уменьшения жесткости, а применение умягчителей воды или дистиллированной воды существенно увеличивает эксплуатационные расходы на отопительную систему. Минусом ТЭНовых электрических котлов является и низкая ремонтопригодность: если ТЭН выходит из строя, то его отремонтировать невозможно, а приходится производить полную замену.
Электродные электрические котлы работают за счет электропроводности воды: вода может проводить электрический ток, в результате чего нагревается (Рис. 3.19).

Рис. 3.19.Принцип работы электродного котла: 1 – катод; 2 – анод; 3 – подача теплоносителя; 4 – выход теплоносителя
На рынке представлены электродные электрические котлы как однофазные, так и трехфазные, мощностью 3–16 кВт. Их основным преимуществом является низкая стоимость. К плюсам электродных котлов относятся простота конструкции, компактные размеры, нетребовательность к жесткости воды (при появлении накипи может снизиться мощность котла, но разрушения электродов не происходит), высокий КПД, малая инертность, нечувствительность к перепадам напряжения (при перепадах напряжения изменяется мощность котла, но не происходит отключения).
К недостаткам электродного электрического котла относится высокий риск поражения электрическим током (теплоноситель непосредственно контактирует с электродами). Невозможно применение устройства защитного отключения (УЗО), и котлу требуется хорошее заземляющее устройство, что удорожает всю систему. Минусом электродного котла является также невозможность применять в качестве теплоносителя жидкости с низкой точкой замерзания. В процессе эксплуатации электроды могут растворяться, а химический состав теплоносителя – изменяться, это приводит к снижению мощности котла. Выделяющиеся электролизные газы могут не только завоздушивать систему отопления, но и быть ядовитыми. В электродных котлах редко применяется регулировка мощности, так как подобное устройство существенно усложняет конструкцию прибора и удорожает его.
Еще одним недостатком электродных котлов является невозможность их использования для организации одноконтурной системы теплоснабжения. Существуют и определенные проблемы с эксплуатацией электродных котлов: требуется постоянно контролировать потребляемый ток, а также обладать знаниями по электропроводности воды. Подобные недостатки привели к тому, что в Европе электродные электрические котлы запрещены не только к применению, но даже к производству в качестве обогревательного оборудования, разрешены производство и эксплуатация таких котлов только в качестве специализированного оборудования (например, при процессах стерилизации), и эксплуатационным обслуживанием занимается специально обученный персонал. На постсоветском пространстве электродные котлы продолжают производиться и эксплуатироваться в качестве обогревательного оборудования из-за их низкой цены.
Индукционные электрические котлы представляют собой наиболее сложную из всех видов электрических отопительных котлов конструкцию. Нагрев теплоносителя в таких котлах происходит за счет явления электромагнитной индукции, и сам котел состоит из двух контуров: магнитной системы и теплообменного устройства (Рис. 3.20).

Рис. 3.20.Устройство индукционного электрического котла: 1 – металлический корпус; 2 – металлический лабиринт; 3 – катушка индуктивности; 4 – вход теплоносителя; 5 – выход теплоносителя
Внутри индукционной катушки находится нагреватель, представляющий собой металлический лабиринт, выполненный из бесшовных труб. При создании индукционной катушкой магнитного поля этот лабиринт разогревается, а теплоноситель, циркулирующий в системе (циркуляция осуществляется за счет насоса), нагревается в лабиринте.
Так же, как и в ТЭНовых котлах, в индукционных котлах теплоноситель не имеет прямого контакта с электроприборами, и такие котлы обладают высокой электробезопасностью. К плюсам индукционных котлов относится также малая инерция – они быстро выходят на рабочий режим (инерция индукционных котлов значительно ниже, чем, например, ТЭНовых). Индукционные котлы очень надежны, их надежность повышается за счет отсутствия нагревательных элементов. Они могут работать с любым теплоносителем. Немаловажным плюсом является и отсутствие разъемных соединений – в индукционных котлах невозможно возникновение течи. Еще один плюс: в таких котлах практически не образуется накипь.
А вот цена на индукционные электрические котлы не слишком радует: они стоят дороже, чем остальные виды электрических котлов. Кроме того, эти котлы обладают самыми большими габаритами и весом. Существуют также проблемы в устройстве плавного регулирования мощности.
Некоторые требования, предъявляемые к котлам, приведены в табл. 3.2, 3.3.
Читать дальшеИнтервал:
Закладка: