Иван Никитко - Водоснабжение, канализация и отопление загородного дома
- Название:Водоснабжение, канализация и отопление загородного дома
- Автор:
- Жанр:
- Издательство:Издательство «Питер»046ebc0b-b024-102a-94d5-07de47c81719
- Год:2013
- Город:Санкт-Петербург
- ISBN:978-5-496-00463-3
- Рейтинг:
- Избранное:Добавить в избранное
-
Отзывы:
-
Ваша оценка:
Иван Никитко - Водоснабжение, канализация и отопление загородного дома краткое содержание
Налаженное функционирование систем водоснабжения, канализации и отопления – это комфорт и удобство всех проживающих в доме. И если даже не требуется вашего непосредственного участия в монтажных работах (практически все действия подобного типа должны выполняться специалистами, имеющими соответствующие лицензии), все равно необходимы пристальное внимание и контроль. Ведь от того, как будут налажены эти системы, зависит многое, в том числе и уровень эксплуатационных расходов. Поэтому будьте внимательны, подходите к вопросам водоснабжения, канализации и отопления со всей тщательностью и ответственностью. И пусть в вашем доме будет тепло и уютно.
Водоснабжение, канализация и отопление загородного дома - читать онлайн бесплатно ознакомительный отрывок
Интервал:
Закладка:
Проще всего с дымоходами для твердотопливных котлов, не имеющих такого сервиса, как автоматическое включение/отключение при достижении определенной температуры. Эти дымоходы могут выполняться из кирпича, в них постоянно поддерживается высокая температура (котел-то работает без перерыва), и конденсата образуется минимальное количество. Из кирпича также выполняются дымоходы для печей и каминов.
Другое дело – современные газовые и жидкотопливные котлы, а также некоторые модификации твердотопливных (из последних разработок). С ними возникает определенная проблема. С целью экономии топлива на современные котлы устанавливается автоматика, которая позволяет им работать в прерывистом режиме: когда температура теплоносителя достигает заданной, котел отключается; как только теплоноситель остывает (опять же – до предварительно заданной температуры), котел включается снова. Это приводит к тому, что труба дымохода, через которую то проходят горячие продукты сгорания, то не проходят, попеременно то разогревается, то охлаждается. К тому же температура продуктов сгорания в газовых и жидкотопливных котлах ниже, чем в твердотопливных, да еще в них содержится большое количество водяных паров (существенно больше, чем при сжигании твердого топлива, которое обычно является сухим). При использовании газовых и жидкотопливных котлов возникают особенно благоприятные условия для образования конденсата.
Решить эту проблему можно двумя способами: отказаться от дискретной работы котла или использовать для дымохода материалы, обладающие свойством быстро нагреваться под воздействием горячих газов и медленно охлаждаться при отсутствии такого воздействия. Первый вариант – отказ от дискретной работы котла – явно нерентабелен, так как ведет к перерасходу топлива, а также к определенной некомфортности проживания в доме (температура в помещениях при постоянно работающем в одном режиме отопительном котле может превысить комфортную, и в помещениях станет попросту жарко и душно). Зато выбрать для дымохода соответствующий материал ничто не мешает.
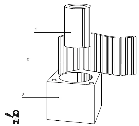
Можно использовать дымоходы, изготовленные из керамики, стойкой к кислотам (Рис. 3.36).
Но у таких дымоходов есть довольно существенный недостаток – большой вес, в «легких» домах их устанавливать затруднительно. Возникают также проблемы при установке керамических дымоходов в уже готовых домах, в которых не были предусмотрены подобные нагрузки на фундамент.
Свойством быстро нагреваться при соответствующем воздействии обладает сталь. Ну а если обеспечить стальной трубе надежную теплоизоляцию, то проблема оказывается решенной: труба дымохода, выполненная из нержавеющей стали и утепленная базальтовым волокном высокой плотности, отвечает всем заявленным требованиям – быстро нагревается и медленно охлаждается. Это позволяет быстро преодолевать порог конденсатообразования, а также поддерживать нужную температуру дымовой трубы во время отключений котельного оборудования таким образом, что конденсат практически не образуется. В такой трубе тяга стабильна, а проблем с сажей и конденсатом не возникает. К тому же в стальных дымоходах отсутствуют тепловые мостики (то есть нет холодных мест, где может происходить выпадение конденсата), они имеют круглое сечение и гладкие внутренние стенки, что облегчает удаление продуктов сгорания.

Рис. 3.36.Конструкция дымоходной трубы из керамики: 1 – дымоходная труба из керамики; 2 – изоляционные плиты; 3 – каменная оболочка дымоходной трубы
Дополнительным плюсом стальных дымоходов является их унификация: отдельные модули стандартизованы и совместимы друг с другом.
Но стандартизация элементов дымохода вовсе не означает, что можно приобрести первый попавшийся дымоход, который понравился внешне или по цене. Дымоход должен соответствовать котельному оборудованию как по виду топлива, так и по мощности.
Различные виды топлива имеют разный химический состав и, как следствие, дают различные смеси газообразных продуктов сгорания. Кроме того, температура продуктов сгорания тоже различается в зависимости от модификации отопительного котла. Поэтому сталь, из которой изготовлен дымоход, должна быть определенной марки, соответствующей кислотности (рН) продуктов сгорания (различные марки стали отличаются добавками, которые и определяют их кислотоустойчивость).
Соответствие мощностей также имеет немаловажное значение: если тяга в дымоходе будет слишком сильной, превышающей мощность котла, то в результате в трубу в прямом смысле слова начнет вылетать топливо – не успевая выгорать до конца, оно устремится в разреженную область, создаваемую тягой дымохода, причем в трубе может оказаться не только газообразное топливо, но даже распыленное горелкой жидкое.
Для расчета параметров дымохода требуется знать не только характеристики котельного оборудования, но и место его расположения. Особенно важен план высот: дымоход должен иметь высоту не менее 5 м от выходного патрубка отопительного котла. Кроме того, если в непосредственной близости к дому располагаются другие строения, особенно большей высоты, чем дом, то в расчете должна учитываться и высота рассеивания исходящих газов, иначе вы рискуете «полить» агрессивным конденсатом окружающие постройки. Существуют и определенные нормативы, оговаривающие высоту дымохода над крышей (Рис. 3.37):
✓ при наличии плоской кровли высота дымовой трубы должна быть не менее 0,5 м над уровнем кровли;
✓ если труба располагается на расстоянии до 1,5 м от конька кровли, то высота ее должна быть не менее 0,5 м над коньком;
✓ если труба располагается на расстоянии 1,5–3 м от конька кровли, то высота ее должна быть не менее высоты конька кровли;
✓ если труба располагается на расстоянии более 3 м от конька кровли, то она должна быть не ниже линии, проведенной от кровельного конька вниз под углом 10° к горизонту;
✓ если кровля выполнена из горючих материалов (дранка, солома, камыш и т. д.), то высота трубы должна превышать высоту конька кровли не менее чем на 1–1,5 м.

Рис. 3.37.Высота расположения трубы дымохода над кровлей
Желательно также установить над дымоходом дефлектор, который будет препятствовать попаданию внутрь осадков, грязи, мусора, животных (особенно птиц), а также ветру, который может помешать эффективному выводу продуктов сгорания. Оптимально, если дефлектор будет снабжен искрогасящей решеткой.
Читать дальшеИнтервал:
Закладка: