А. Лебедев - Анатомия стиральных машин

Тут можно читать онлайн А. Лебедев - Анатомия стиральных машин - бесплатно ознакомительный отрывок. Жанр: Справочники, издательство СОЛОН-ПРЕСС, год 2008. Здесь Вы можете читать ознакомительный отрывок из книги онлайн без регистрации и SMS на сайте лучшей интернет библиотеки ЛибКинг или прочесть краткое содержание (суть), предисловие и аннотацию. Так же сможете купить и скачать торрент в электронном формате fb2, найти и слушать аудиокнигу на русском языке или узнать сколько частей в серии и всего страниц в публикации. Читателям доступно смотреть обложку, картинки, описание и отзывы (комментарии) о произведении.
  • Название:
    Анатомия стиральных машин
  • Автор:
  • Жанр:
  • Издательство:
    СОЛОН-ПРЕСС
  • Год:
    2008
  • Город:
    Москва
  • ISBN:
    978-5-91359-028-2
  • Рейтинг:
    4/5. Голосов: 121
  • Избранное:
    Добавить в избранное
  • Отзывы:
  • Ваша оценка:
    • 80
    • 1
    • 2
    • 3
    • 4
    • 5

А. Лебедев - Анатомия стиральных машин краткое содержание

Анатомия стиральных машин - описание и краткое содержание, автор А. Лебедев, читайте бесплатно онлайн на сайте электронной библиотеки LibKing.Ru

Настоящая книга содержит базовые сведения об устройстве бытовых автоматических стиральных машин барабанного типа. Особенность книги — это описание работы практически каждого узла стиральной машины. В книге также приводятся минимально необходимые сведения по поиску и устранению простых (типовых) неисправностей. Впервые приведены материалы по капитальному ремонту: замене подшипников и уплотнений. Показана технология замены щеток в коллекторных моторах. В приложении к книге есть некоторые схемы как современных стиральных машин, так и выпускавшихся ранее. По этим схемам можно проследить эволюцию развития схемотехники стиральных машин.

Книга предназначена для широкого круга читателей, интересующихся устройством бытовых автоматических стиральных машин. Также книга будет полезна в качестве учебного пособия для учащихся учебных заведений соответствующего профиля и для начинающих мастеров.

Анатомия стиральных машин - читать онлайн бесплатно ознакомительный отрывок

Анатомия стиральных машин - читать книгу онлайн бесплатно (ознакомительный отрывок), автор А. Лебедев
Тёмная тема
Сбросить

Интервал:

Закладка:

Сделать
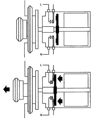
Рис 114 Процесс переключения контактов В некоторых программаторах имеются - фото 129

Рис. 11.4. Процесс переключения контактов

В некоторых программаторах имеются дополнительные контакты, служащие для подачи напряжения питания на электросхему СМА в течение цикла стирки. Эти контакты замыкаются между собой только при выдвижении ручек программатора «на себя», например, как на рис. 11.5, то есть при включении программы стирки.

Рис 115 Устройство программатора со встроенным выключателем Функции - фото 130

Рис. 11.5. Устройство программатора со встроенным выключателем

Функции переключения у кулачков разные: «быстрые» кулачки служат для переключения направления вращения (реверса) ведущего мотора и приводятся во вращение синхромотором. «Медленные» кулачки обеспечивают переключение режимов стирки, и вместе с ними вращается и ручка программатора с обозначениями. Особо отметим — есть модели программаторов, в которых на период нагрева воды в баке привод «медленных» кулачков механически отключается от редуктора синхоромотора. Отключение производится с помощью электромагнита, расположенного на торцевой части корпуса программатора (рис. 11.6).

Рис 116 Программаторы с электромагнитом термостоп Этот электромагнит как - фото 131

Рис. 11.6. Программаторы с электромагнитом «термостоп»

Этот электромагнит, как и функция, которую он осуществляет, называется «термостоп». В СМА с микроконтроллерными блоками подобное отключение производится с помощью маломощного симистора, который по команде с микроконтроллера прекращает подачу напряжения питания на синхромотор, а функцию «быстрых» кулачков осуществляют реле. Контакты этих реле переключают направление вращения ведущего мотора. В более простых моделях СМА функцию «термостоп» осуществляет термостат для установки температуры. Напряжение питания синхромотора программатора подключается контактами этого термостата после некоторого подогрева воды (обычно до 30 °C).

Итак, мы познакомились с общим устройством программаторов, а теперь перейдем к рассмотрению конкретных конструкций. К сожалению, невозможно в рамках одной главы описать все командоаппараты, поэтому, опять же, мы изучим их внутреннее устройство на примере самых распространенных. Но сначала сделаем одну оговорку. Как известно, практически вся бытовая техника рассчитана на ремонт методом замены блоков, и крупные сервис-центры не приветствуют «умельцев». Однако в нашем случае речь пойдет о безвыходных ситуациях, когда новый программатор (или модуль блока управления с программатором) достать невозможно либо его доставку придется ожидать несколько месяцев. Так что, зная устройство контактной системы программаторов, подавляющее большинство из них вполне можно быстро отремонтировать. Это будет оправдано и к тому же выгодно: как правило, дефект заключается лишь в подгорании пары-другой контактов. Хоть программаторы и считаются неразборными узлами, при определенных навыках их вполне можно разобрать и восстановить. Основные дефекты, как уже упоминалось, возникают в контактных системах программаторов от попадания воды или моющего раствора или от замыканий во внешних цепях — в этом случае контакты подгорают.

Также довольно часто наблюдалось подгорание контактов, коммутирующих мощную нагрузку: нагревательные элементы, обмотки ведущих моторов и от замыканий в перетершемся жгуте электропроводки. Начнем экскурсию с рассмотрения самых простых типов программаторов. Это программаторы с одной или двумя съемными боковыми крышками. Крышки из гетинакса легко вынимаются из пазов в корпусе. На рис. 11.7 представлены два программатора со снятыми боковыми крышками (кстати, эти крышки защищают только от пыли).

Рис 117 Программаторы со съемными боковыми крышками Как правило особых - фото 132

Рис. 11.7. Программаторы со съемными боковыми крышками

Как правило, особых хлопот такие типы программаторов не доставляют, т. к. легко и просто осмотреть всю контактную систему и почистить или, если нужно, подогнуть подозрительные контакты. В большинстве случаев такой ремонт можно провести, даже не отсоединяя разъемы жгута электропроводки СМА.

Возьмемся за следующий — это программатор рис. 11.8, у которого контактная система из отдельных плоских галет, а в самой нижней галете расположен редуктор.

Рис 118 Программатор с плоскими галетами Снизу галеты синхромотор Все - фото 133

Рис. 11.8. Программатор с плоскими галетами

Снизу галеты — синхромотор. Все галеты стянуты в единый блок двумя винтами. Чтобы без усилий разобрать, а затем собрать такой программатор, желательно изготовить из любой толстостенной трубки стопорное устройство (или из куска пластмассы).

Перед разборкой этот стопор надевается на ось программного барабана до упора в верхнюю галету и сбоку завинчивается контрящий винт. Это нужно, чтобы после отвинчивания стягивающих винтов детали программатора не разлетелись по помещению. И еще: перед разборкой любого программатора программный барабан устанавливают в нулевое (начальное) положение — программа стирки выключена. После того как зафиксирована стопорная втулка, отвинчивают стягивающие винты и одновременно придерживают нижнюю галету с синхромотором и редуктором.

Итак, программатор разобран, это видно на рис. 11.9.

Рис 119 Галеты программатора Все контакты как на ладони При обугливании - фото 134 Рис 119 Галеты программатора Все контакты как на ладони При обугливании - фото 135 Рис 119 Галеты программатора Все контакты как на ладони При обугливании - фото 136

Рис. 11.9. Галеты программатора

Все контакты как на ладони. При обугливании контактов практически всегда копоть оседает и на пластиковой основе, поэтому подгоревшие контакты легко обнаружить визуально и почистить. При последующей сборке галет надо обратить внимание на храповую шестерню, которая передает вращение от редуктора на программный барабан. Эта шестерня подпружинена и при сборке должна попасть посадочными отверстиями (их три) на соответствующие штыри на шестерне редуктора.

Рассмотрим более сложный программатор.

Сложность в том, что к выводам контактов припаяна печатная плата. Галеты с контактами также стянуты винтом с гайкой по центру. Программатор показан на рис. 11.10.

Рис 1110 Программатор с печатной платой тип 1 При разборке подобного - фото 137

Рис. 11.10. Программатор с печатной платой — тип 1

Читать дальше
Тёмная тема
Сбросить

Интервал:

Закладка:

Сделать


А. Лебедев читать все книги автора по порядку

А. Лебедев - все книги автора в одном месте читать по порядку полные версии на сайте онлайн библиотеки LibKing.




Анатомия стиральных машин отзывы


Отзывы читателей о книге Анатомия стиральных машин, автор: А. Лебедев. Читайте комментарии и мнения людей о произведении.


Понравилась книга? Поделитесь впечатлениями - оставьте Ваш отзыв или расскажите друзьям

Напишите свой комментарий
Сергей
14 марта 2026 в 08:24
Страница 2. Утверждение, что 1 Ньютон = 1 кгс - неверно. 1 Ньютон ~ = 0,1 кгс